Overlap between Asyfill and Asycube

The recommended overlap between the Asyfill and the Asycube is given in the Table 7.

Table 7 Recommended overlap E between Asyfill container and Asycube platform

Asycube 240

Asycube 380

Asycube 530

Asyfill S

5 mm Fig. 22

5 mm Fig. 23

5 mm Fig. 23

Asyfill M

5 mm Fig. 22

5 mm Fig. 23

5 mm Fig. 23

Asyfill L

N/A

5 mm Fig. 24

5 mm Fig. 24

../../../_images/overlap_S_M_240.png

Fig. 22 Overlap between Asyfill S or M and Asycube 240

../../../_images/overlap_S_M_380_530.png

Fig. 23 Overlap between Asyfill S or M and Asycube 380 or 530

../../../_images/overlap_L_380_530.png

Fig. 24 Overlap between Asyfill L and Asycube 380 or 530

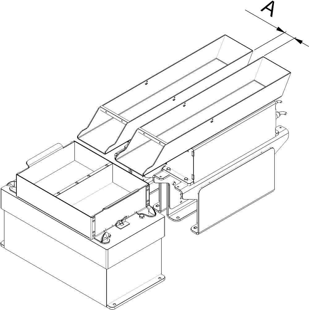
Distance between two Asyfill

In multi-feeding applications, the recommended distance between two Asyfill when placed side by side on the long side of the Asycube is given in the table below.

Table 8 Recommended Distance A between two Asyfill in multi-feeding

Asycube 240

Asycube 380

Asycube 530

Asyfill S 1L

17 mm

N/A

N/A

Asyfill S 2L

N/A

N/A

N/A

Asyfill M 3L

N/A

43 mm

95 mm

Asyfill M 7L

N/A

N/A

66 mm

Asyfill L 14L

N/A

N/A

N/A

../../../_images/distance_asyfill.png