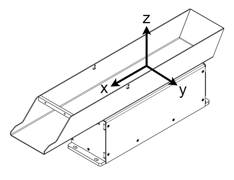
Container displacement

While vibrating, the amplitude of the vibration does not exceed ±1 mm in X and Z directions. However a minimal margin of 10 mm must be considered in all directions (X / Y / Z) when integrating the Asyfill.

../../_images/asyfill_m_axis.png

Caution

Ear protection might be recommended, depending on the parts and vibration amplitude used in your application.

Caution

Risk of pinching. Do not place your finger between the container and its actuator base. Do not touch the machine during a vibration.