Silos

The silos allows to extend the autonomy of the Asyfill. The silos are available in five different versions:

  • Silo for Asyfill S with comb for container 1L

  • Silo for Asyfill S with comb for container 2L

  • Silo for Asyfill M with comb for container 3L

  • Silo for Asyfill M with comb for container 7L

  • Silo for Asyfill L with comb for container 14L

../_images/silos_all.png

Fig. 42 Overview of the Asyfill series with the silos installed

Note

The silos are compatible with the fixation kits, with the exception of the modular fixation kit for Asyfill S in assembly variant 2.

Note

For multi-feeding applications, it is not possible to integrate more than one Asyfill with Silo on one side of the Asycube. Please refer to the CAD files available in the Downloads section.

Important

The parts quantity must not exceed the Asyfill’s maximal admissible load.

Important

Not all parts can be used with the Silo. Large or soft/sticky parts can cause clogging. Please contact our support team for any advice from our website.

Dimensions

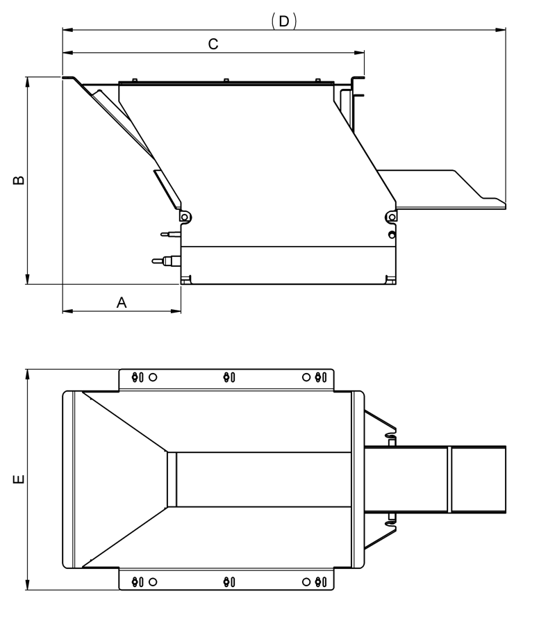
../_images/silo_dimensions.png
Table 18 Silo overall dimensions and volume

Dimensions (mm)

Silo S 1L

Silo S 2L

Silo M 3L

Silo M 7L

Silo L 14L

A

200

200

220

232

230

B

365

365

385

385

447

C

461

461

561

561

611

D

603

641

823

865

955

E

375

375

410

410

520

Additional volume

9 L

9 L

14 L

14 L

23 L

Maximal admissible load 1

2 kg

2 kg

12 kg

12 kg

20 kg

1 equivalent to Asyfill admissible load - the silo increases total volume, not the admissible load!

Note

CAD files are available in the Downloads section.

Assembly

The silos are delivered pre-assembled with a fixation support which allows assembly on the same interface as the Asyfill. Please make sure that all the elements listed below are included in the package upon delivery:

  • 1x pre-assembled silo with comb

  • 2x mounting brackets

  • 1x reinforcement bar

  • 1x fixation screws kit

The assembly steps are described below:

  • Step 1 Assemble the two mounting brackets using the same fixing screws as the Asyfill, push each bracket against the housing before securing it.

  • Step 2 Install the front reinforcement bar, slightly push the reinforcement bar upwards before securing it.

  • Step 3 Install the pre-assembled silo on the brackets using the 6x M4 screws

  • Step 4 Adjust the comb depending on your application/parts

../_images/silo_assembly.png

Fig. 43 Silo assembly procedure