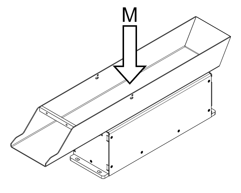
最大許容荷重

容器内の最大許容荷重は以下の通りです:

../../_images/asyfill_m_mass.png

M [kg]

Asyfill S 1/2L

2

Asyfill M 3/7L

12

Asyfill L 14L

20

注釈

振動振幅は負荷に影響されます。一定のフィードを確保ためには 振動の調整 を参照してください。