サイロ

サイロはアジフィルの自律性を拡張することができます。サイロには5つのバージョンがあります:

  • 1L 容器用コーム付きアジフィル S 用サイロ

  • 2L 容器用コーム付きアジフィル S 用サイロ

  • 3L 容器用コーム付きアジフィル M 用サイロ

  • 7L 容器用コーム付きアジフィル M 用サイロ

  • 14L 容器用コーム付きアジフィル L 用サイロ

../_images/silos_all.png

図 42 サイロ設置済みアジフィルシリーズの概要

注釈

各種サイロは 固定キット と互換性があります。ただし、アジフィル S 用のモジュラー式固定キットは例外で組み立て方法②です。

注釈

マルチフィーディング用途の場合、サイロのあるアジフィルをアジキューブの片側に1台以上組み込むことはできません。CADファイルは ダウンロード セクションにあります。

重要

部品数はアジフィルの 最大許容荷重 を超えてはなりません。

重要

全てのパーツをサイロで使用できるわけではございません。大きな部品や柔らかい部品、粘着性のある部品は目詰まりを起こす可能性があります。当社のウェブサイト より、サポートチームにお問い合わせください。

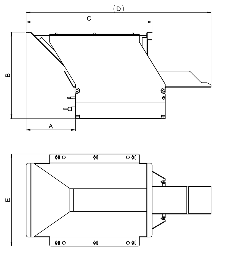
寸法

../_images/silo_dimensions.png
表 18 サイロ全体のサイズと容積

寸法(mm)

サイロ S 1L

サイロ S 2L

サイロ M 3L

サイロ M 7L

サイロ L 14L

A

200

200

220

232

230

B

365

365

385

385

447

C

461

461

561

561

611

D

603

641

823

865

955

E

375

375

410

410

520

追加容積

9 L

9 L

14 L

14 L

23 L

最大許容荷重 1

2 kg

2 kg

12 kg

12 kg

20 kg

1 アジフィルの許容荷重 - サイロは全体容量を増加できますが、許容荷重は増加できません!

注釈

各種アジフィル用の CAD モデルは、 ダウンロード セクションをご用意しております。

組み立て

サイロは、アジフィルと同じインターフェースに組み立てられるように、固定サポートと一緒に組み立て済みの状態で納入されます。納品時には、以下の要素がすべて同梱されていることをご確認ください:

  • コーム付き組み立て済みサイロ 1台

  • 取り付け金具 2個

  • 補強バー 1個

  • 固定ネジキット 1個

組み立て手順は次の通りです:

  • 【ステップ1】 アジフィルと同じ固定ネジを使用して2つの取り付けブラケットを組み立て、各ブラケットをハウジングに押し当ててから固定する。

  • 【ステップ2】 フロント補強バーを取り付けて、補強バーを少し上に押し上げてから固定する。

  • 【ステップ 3】 M4 ネジ 6 本を使用して、組み立て済みサイロをブラケットに取り付ける。

  • 【ステップ 4】 用途や部品に応じてコームを調整する。

../_images/silo_assembly.png

図 43 サイロの組み立て手順