Avertissement

Vous lisez une ancienne version de cette documentation. Si vous souhaitez obtenir des informations actualisées, veuillez consulter la version 2025.11 .

Chevauchement entre Asyfill et Asycube

Le chevauchement recommandé entre l’Asyfill et l’Asycube est indiqué dans le Tableau 7.

Tableau 7 Chevauchement recommandé E entre le bac Asyfill et la plateforme Asycube

Asycube 240

Asycube 380

Asycube 530

Asyfill S

5 mm Fig. 22

5 mm Fig. 23

5 mm Fig. 23

Asyfill M

5 mm Fig. 22

5 mm Fig. 23

5 mm Fig. 23

Asyfill L

N/A

5 mm Fig. 24

5 mm Fig. 24

../../../_images/overlap_S_M_240.png

Fig. 22 Chevauchement entre Asyfill S ou M et Asycube 240

../../../_images/overlap_S_M_380_530.png

Fig. 23 Chevauchement entre Asyfill S ou M et Asycube 380 ou 530

../../../_images/overlap_L_380_530.png

Fig. 24 Chevauchement entre Asyfill L et Asycube 380 ou 530

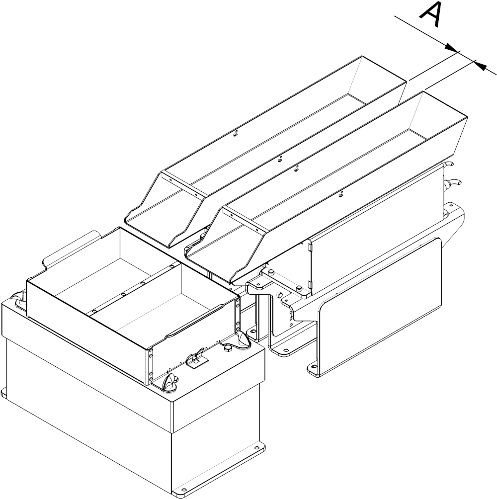
Distance entre deux Asyfill

En multi-feeding, la distance recommandée entre deux Asyfill est indiquée dans le tableau ci-dessous.

Tableau 8 Distance recommandée A entre deux Asyfill en multi-feeding

Asycube 240

Asycube 380

Asycube 530

Asyfill S 1L

17 mm

N/A

N/A

Asyfill S 2L

N/A

N/A

N/A

Asyfill M 3L

N/A

43 mm

95 mm

Asyfill M 7L

N/A

N/A

66 mm

Asyfill L 14L

N/A

N/A

N/A

../../../_images/distance_asyfill.png