Avertissement
Vous lisez une ancienne version de cette documentation. Si vous souhaitez obtenir des informations actualisées, veuillez consulter la version 2025.11 .Silos
Les silos permettent d’étendre l’autonomie de l’Asyfill. Les silos sont disponibles en cinq versions différentes :
Silo pour Asyfill S avec peigne pour bac de 1L
Silo pour Asyfill S avec peigne pour bac de 2L
Silo pour Asyfill M avec peigne pour bac de 3L
Silo pour Asyfill M avec peigne pour bac de 7L
Silo pour Asyfill L avec peigne pour bac de 14L
Fig. 42 Vue d’ensemble de la série Asyfill avec les silos installés
Note
Les silos sont compatibles avec les kits de fixation, à l’exception du kit de fixation modulaire pour Asyfill S assemblé selon la variante d’assemblage 2.
Note
Pour les applications multi-feeding, il n’est pas possible d’intégrer plus d’un Asyfill avec Silo sur un côté de l’Asycube. Veuillez vous référer aux fichiers CAO disponibles dans la section Téléchargements.
Important
La quantité de pièces ne doit pas dépasser la charge maximale admissible de l’Asyfill.
Important
Toutes les pièces ne peuvent pas être utilisées avec le Silo. Les pièces de grande taille ou souples/adhésives peuvent provoquer des obstructions. Pour tout conseil, veuillez contacter notre équipe d’assistance via notre site web.
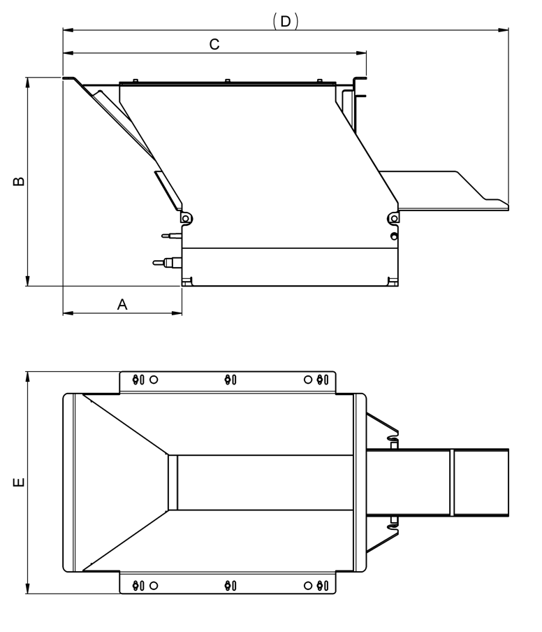
Dimensions
Dimensions (mm) |
Silo S 1L |
Silo S 2L |
Silo M 3L |
Silo M 7L |
Silo L 14L |
|---|---|---|---|---|---|
A |
200 |
200 |
220 |
232 |
230 |
B |
365 |
365 |
385 |
385 |
447 |
C |
461 |
461 |
561 |
561 |
611 |
D |
603 |
641 |
823 |
865 |
955 |
E |
375 |
375 |
410 |
410 |
520 |
Volume supplémentaire |
9 L |
9 L |
14 L |
14 L |
23 L |
Charge maximale admissible 1 |
2 kg |
2 kg |
12 kg |
12 kg |
20 kg |
Note
Les fichiers CAO sont disponibles dans la section Téléchargements.
Assemblage
Les silos sont livrés pré-assemblés avec un support de fixation qui permet un assemblage sur la même interface que l’Asyfill. Veuillez vous assurer que tous les éléments énumérés ci-dessous sont contenus dans le colis lors de sa livraison :
1x silo pré-assemblé avec peigne
2 supports de montage
1x barre de renforcement
1x set de vis de fixation
Les étapes de l’assemblage sont décrites ci-dessous :
Étape 1 Assemblez les deux supports de montage en utilisant les mêmes vis de fixation que pour l’Asyfill, poussez chaque support contre le boîtier avant de le fixer.
Étape 2 Insérez la barre de renforcement à l’avant, poussez légèrement la barre de renforcement vers le haut avant de la fixer.
Étape 3 Apposez le silo pré-assemblé sur les supports à l’aide des 6 vis M4.
Étape 4 Ajustez le peigne en fonction de votre application / de vos pièces.
Fig. 43 Procédure d’assemblage du silo