Überlappung zwischen Asyfill und Asycube

Die empfohlene Überlappung zwischen dem Asyfill und dem Asycube ist in Tab. 7 angegeben.

Tab. 7 Empfohlene Überlappung E zwischen dem Asyfill-Behälter und der Asycube-Plattform

Asycube 240

Asycube 380

Asycube 530

Asyfill S

5 mm Abb. 22

5 mm Abb. 23

5 mm Abb. 23

Asyfill M

5 mm Abb. 22

5 mm Abb. 23

5 mm Abb. 23

Asyfill L

N/A

5 mm Abb. 24

5 mm Abb. 24

../../../_images/overlap_S_M_240.png

Abb. 22 Überlappung zwischen Asyfill S oder M und Asycube 240

../../../_images/overlap_S_M_380_530.png

Abb. 23 Überlappung zwischen Asyfill S oder M und Asycube 380 oder 530

../../../_images/overlap_L_380_530.png

Abb. 24 Überlappung zwischen Asyfill L und Asycube 380 oder 530

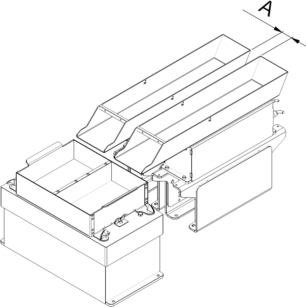
Abstand zwischen zwei Asyfill

Der empfohlene Abstand zwischen zwei bei einer Multi-feeding-Anwendung an der Längsseite des Asycubes nebeneinander angeordneten Asyfill ist in der nachstehenden Tabelle angegeben.

Tab. 8 Empfohlener Abstand A zwischen zwei Asyfill in Multi-feeding

Asycube 240

Asycube 380

Asycube 530

Asyfill S 1L

17 mm

N/A

N/A

Asyfill S 2L

N/A

N/A

N/A

Asyfill M 3L

N/A

43 mm

95 mm

Asyfill M 7L

N/A

N/A

66 mm

Asyfill L 14L

N/A

N/A

N/A

../../../_images/distance_asyfill.png