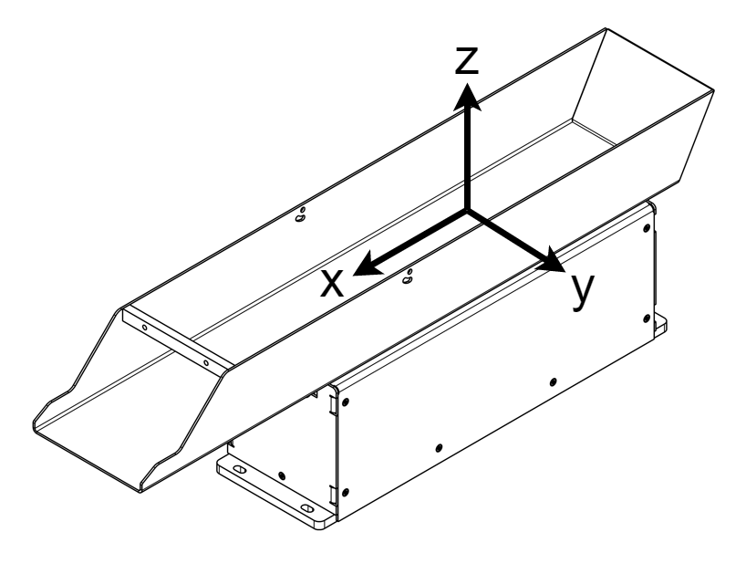
Bewegung des Behälters

Während der Vibration überschreitet die Amplitude der Vibration nicht ±1 mm in X- und Z-Richtung. Allerdings muss bei der Integration des Asyfills ein minimaler Spielraum von 10 mm in alle Richtungen (X / Y / Z) berücksichtigt werden.

../../_images/asyfill_m_axis.png

Vorsicht

Je nach den Teilen und der Amplitude der Vibrationen, die in Ihrer Anwendung verwendet werden, könnte die Benutzung von Gehörschutz empfohlen sein.

Vorsicht

Einklemmgefahr. Halten Sie Ihren Finger nicht zwischen den Behälter und die Aktuatorbasis. Berühren Sie das Gerät nicht während einer Vibration.