警告

これは、古いバージョンのドキュメントです。 最新の情報をご覧になりたい場合は、次をご覧ください。 2025.11 .

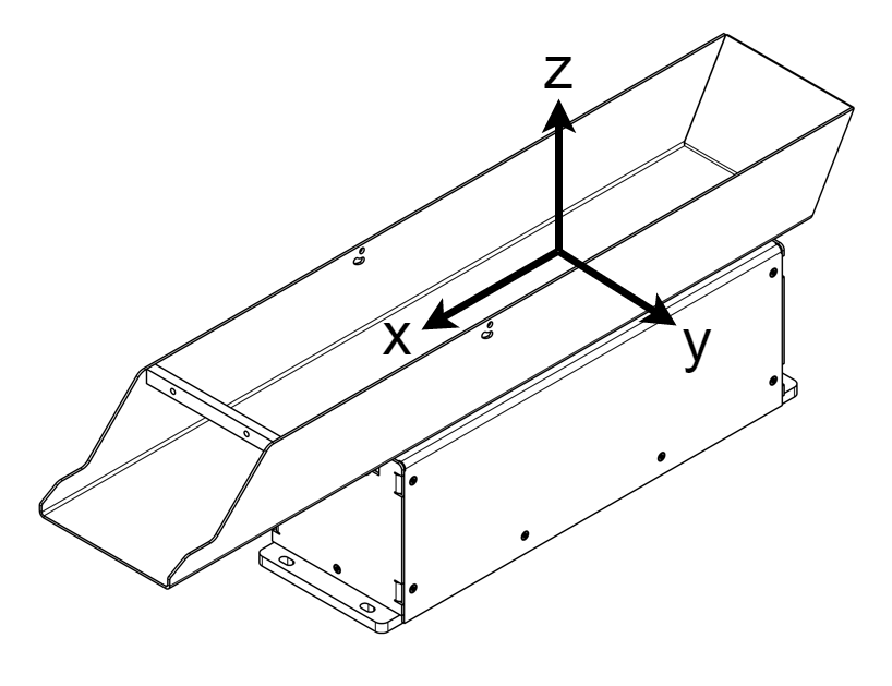
容器の変位

振動中、振動の振幅は X と Z 方向で ±1mm を超えません。ただし、アジフィルを組み込む際には、全方向(X / Y / Z)において 最小10 mm のマージンを考慮する必要があります。

../../_images/asyfill_m_axis.png

注意

使用する部品や振動の大きさによっては、耳の保護をお勧めします。

注意

指を挟み込む危険があります。容器とアクチュエータベースの間に指を入れないでください。振動中は機械に触れないでください。