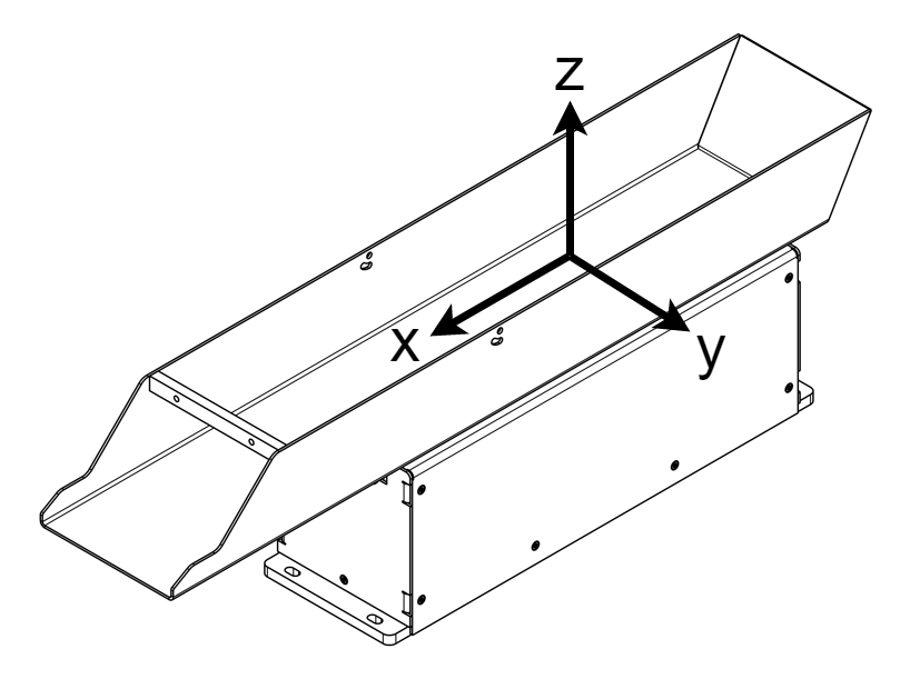
Mouvement du bac

L’amplitude de la vibration ne dépasse pas ±1 mm dans les directions X et Z. Toutefois, une marge minimale de 10 mm doit être prise en compte dans toutes les directions (X / Y / Z) lors de l’intégration de l’Asyfill.

../../_images/asyfill_m_axis.png

Prudence

Une protection auditive peut être recommandée, en fonction des pièces et de l’amplitude des vibrations utilisées dans votre application.

Prudence

Risque de pincement. Ne pas mettre le doigt entre le bac et sa base actionneur. Ne pas toucher la machine lors d’une vibration.