Warnung

Dies ist eine alte Version der Dokumentation. Für aktuelle Informationen, lesen Sie bitte de Version 2025.11 .

Silos

Die Silos ermöglichen es, die Autonomie des Asyfills zu verlängern. Die Silos sind in fünf verschiedenen Versionen erhältlich:

  • Silo für Asyfill S mit Kamm für 1L-Behälter

  • Silo für Asyfill S mit Kamm für 2L-Behälter

  • Silo für Asyfill M mit Kamm für 3L-Behälter

  • Silo für Asyfill M mit Kamm für 7L-Behälter

  • Silo für Asyfill L mit Kamm für 14L-Behälter

../_images/silos_all.png

Abb. 42 Überblick über die Asyfill-Serie mit den installierten Silos

Hinweis

Die Silos sind mit den Befestigungsbausätzen kompatibel, mit Ausnahme des modularen Befestigungsbausatzes für Asyfill S mit der Montagevariante 2.

Hinweis

Bei Multi-Feeding-Anwendungen ist es nicht möglich, mehr als einen Asyfill mit Silo auf derselben Seite des Asycubes einzubauen. Bitte beachten Sie die CAD-Dateien, die Sie in der Rubrik Downloads herunterladen können.

Wichtig

Die Anzahl der Teile darf die für den Asyfill festgelegte maximal zulässige Last nicht überschreiten.

Wichtig

Nicht alle Teile können mit dem Silo verwendet werden. Grosse oder weiche/haftende Teile können Verstopfungen verursachen. Bitte wenden Sie sich über unsere Website an unser Support-Team.

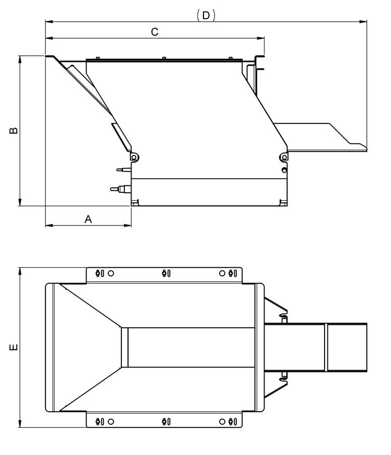
Abmessungen

../_images/silo_dimensions.png
Tab. 18 Gesamtabmessungen und Volumen der Silos

Abmessungen (mm)

Silo S 1L

Silo S 2L

Silo M 3L

Silo M 7L

Silo L 14L

A

200

200

220

232

230

B

365

365

385

385

447

C

461

461

561

561

611

D

603

641

823

865

955

E

375

375

410

410

520

Zusätzliches Volumen

9 L

9 L

14 L

14 L

23 L

Maximal zulässige Last 1

2 kg

2 kg

12 kg

12 kg

20 kg

1 Gleich wie die maximal zulässige Last des Asyfills - das Silo steigert das Gesamtvolumen, nicht die zulässige Last!

Hinweis

CAD-Dateien sind in der Rubrik Downloads verfügbar.

Montage

Die Silos werden vormontiert mit einer Befestigungsstütze geliefert, die eine Montage auf die gleiche Schnittstelle wie der Asyfill ermöglicht. Bitte vergewissern Sie sich, dass alle unten aufgeführten Elemente bei der Lieferung in der Verpackung enthalten sind:

  • 1x vormontiertes Silo mit Kamm

  • 2x Halterungen

  • 1x Verstärkungsstange

  • 1x Satz Befestigungsschrauben

Die Montageschritte werden im Folgenden beschrieben:

  • Schritt 1 Montieren Sie die beiden Halterungen mit denselben Befestigungsschrauben, die Sie für den Asyfill verwenden, drücken Sie jede Halterung gegen das Gehäuse, bevor Sie sie befestigen.

  • Schritt 2 Montieren Sie die vordere Verstärkungsstange und drücken Sie sie leicht nach oben, bevor Sie sie befestigen.

  • Schritt 3 Montieren Sie das vormontierte Silo mit den 6 M4-Schrauben an den Halterungen.

  • Schritt 4 Stellen Sie den Kamm entsprechend der Anwendung/Teile ein.

../_images/silo_assembly.png

Abb. 43 Montage des Silos